Disney Files Patent for Articulating Arm Ride System That Could Change How Attractions Work

26 days ago in "Walt Disney Imagineering"

Disney's New Boom Arm Ride System: A Look at the Patent Drawings
Posted: Thursday February 12, 2026 6:45am ET by WDWMAGIC Staff

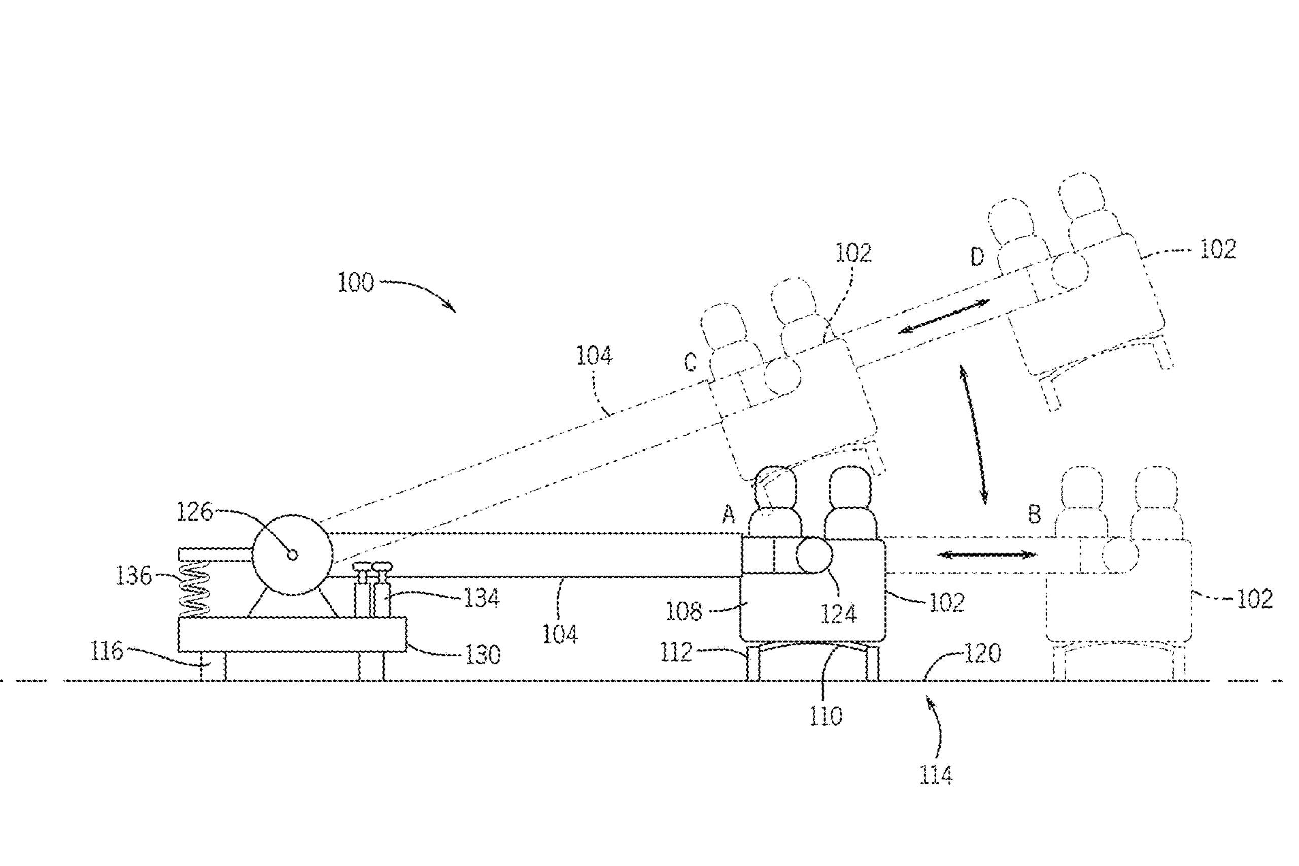
A new patent filing from Disney reveals a ride system that uses a movable arm to physically reposition a ride vehicle while it travels along a track. The system could allow ride vehicles to be lifted, shifted laterally, or moved away from the ride surface entirely during an attraction - all without the vehicle needing to leave its track.

Patent application US 2026/0027482 A1 was published on January 29, 2026. It was filed on July 24, 2024, by inventors Derek Lee Howard, Gaku Sato, and Edward Allen Nemeth on behalf of Disney Enterprises, Inc.

How the system works

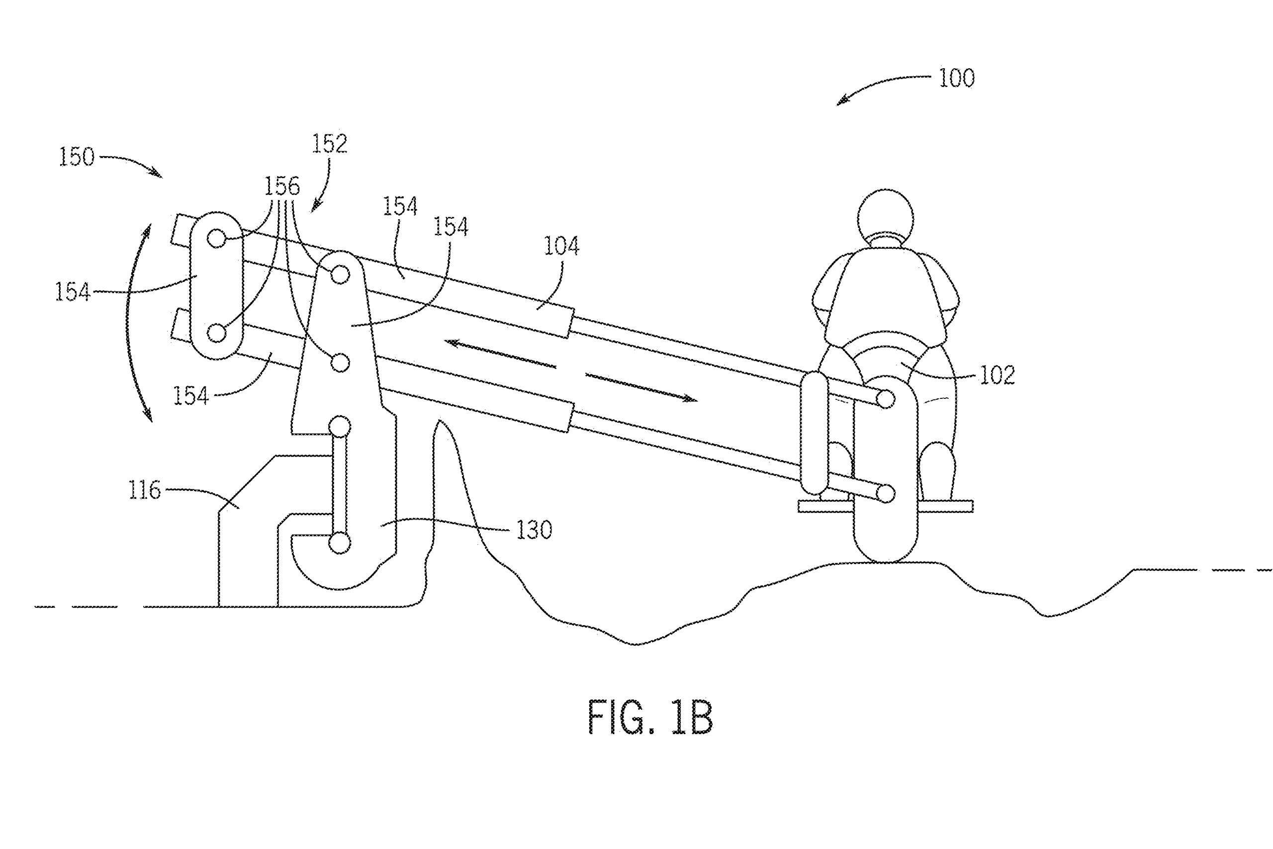
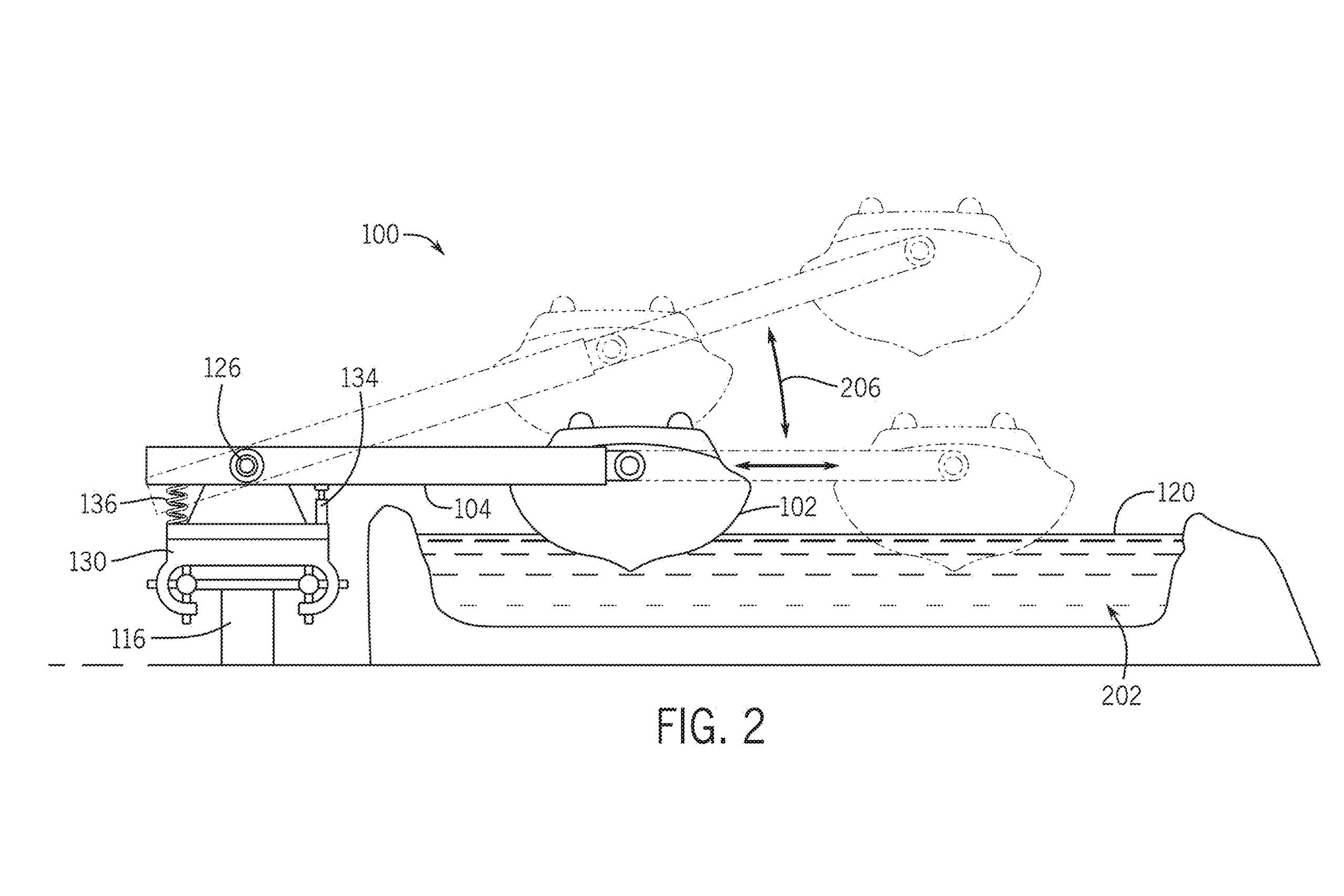
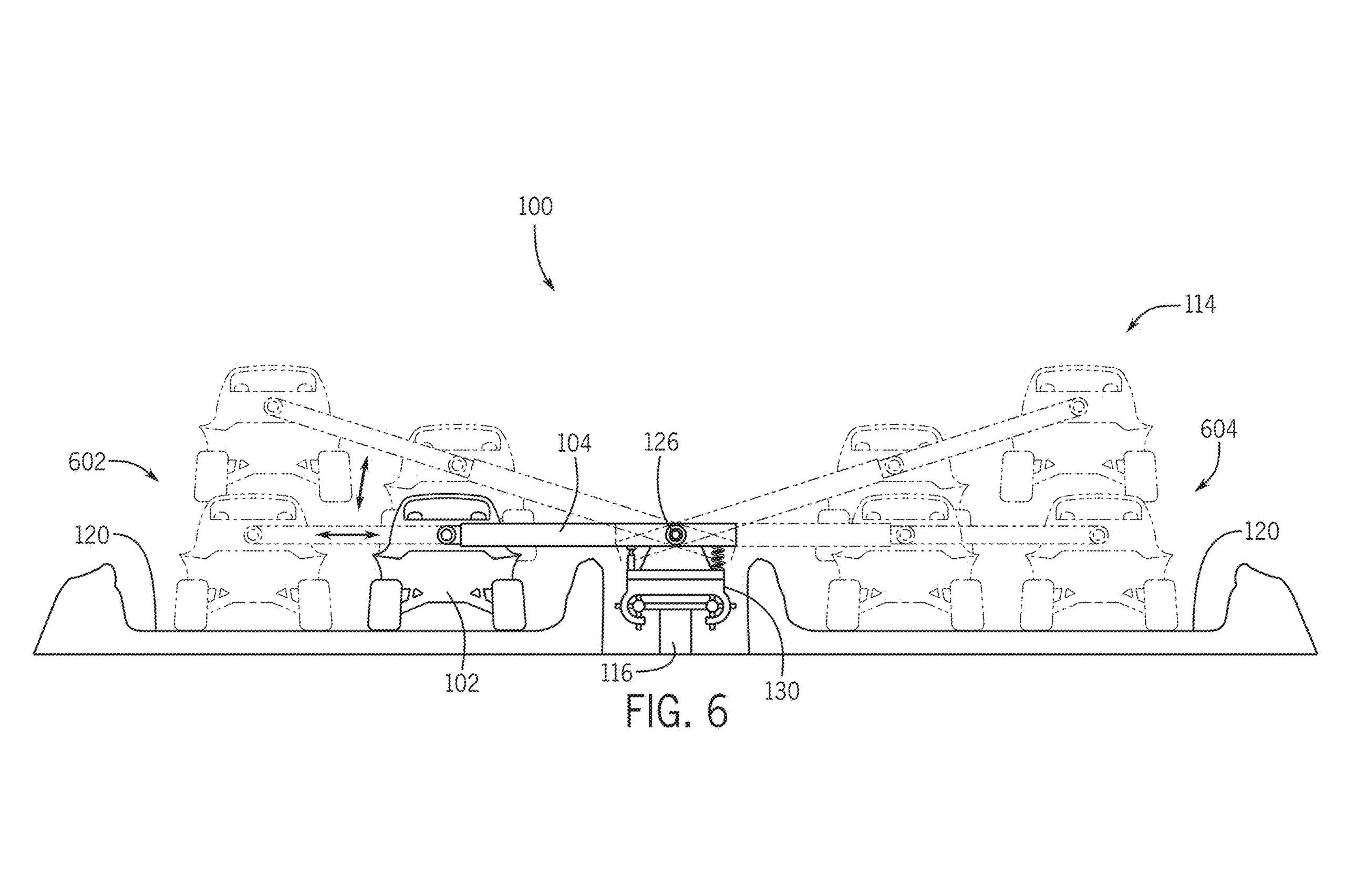
The core idea is straightforward. A ride vehicle moves along a track as normal. Attached to that vehicle is an arm - described in the patent as a "boom arm" - that can articulate, extend, and pivot to change where the vehicle sits relative to the track.

The arm is connected to a chassis that runs along the track. As the chassis moves, the arm adjusts in real time. This means the ride vehicle can be repositioned laterally (side to side), vertically (up and down), or both simultaneously.

A balance spring or counterweight system is included to offset the weight of the arm and the vehicle it carries, reducing the power needed from the actuator that drives the arm's movement.

What it could do on a ride

The patent describes several ways this technology could be used to create effects during an attraction:

  • Lifting the vehicle off the ride surface to simulate jumping or flying
  • Moving the vehicle laterally across the track to avoid or hit obstacles
  • Adjusting height in real time to simulate ramps, moguls, bumps, or terrain changes
  • Spanning gaps in the ride or show floor
  • Simulating acceleration boosts by rapidly lifting the arm

The patent notes that the ride vehicle could be styled as a boat, a car, an airplane, or any other type of vehicle. The drawings in the filing show both a boat-style vehicle on a water channel and a land-based vehicle with wheels.

Guest control

One detail that stands out is the provision for guest interaction. The patent describes a steering interface - such as a steering wheel, joystick, or lever - that would let guests control the position of their vehicle during the ride.

Guests could steer up, down, left, or right to avoid obstacles or hit targets. The patent specifically mentions this as a way to add a layer of control to the experience.

Multiple ride paths

The system also supports multiple ride paths. The patent describes a first ride path on one side of the track and a second ride path on the other. The arm can pivot the vehicle from one path to the other, effectively allowing guests to choose or be directed between different routes through the attraction.

Additional ride paths - a third and fourth - are also described, giving the system flexibility to create varied experiences on repeat visits or within a single ride.

What this could mean for Disney

This patent is filed under the broad category of ride systems, and Disney regularly files patents that never make it to a finished attraction. That said, the level of detail here - covering water rides, land rides, and flying rides - suggests this is a platform Disney is investing in at a technical level.

The articulating arm concept addresses a real limitation in traditional track-based rides. Once a vehicle is locked into a track, its movement is fixed. This system breaks that constraint, opening up possibilities for rides that feel more dynamic and responsive.

It is worth noting that this is a patent application, not a granted patent. The technology described here may or may not appear in a future Disney attraction.

Discuss on the Forums

Get Walt Disney World News Delivered to Your Inbox

View all comments →

Jon81uk23 days ago

This feels a bit like Disney have made a better version of Universal’s Donkey Kong mine cart.

_caleb23 days ago

Quoting myself from the Piston Peak thread because I’m interested in discussion about the patent and possible applications: A few people in that thread thought the patent would be limited to indoor or spinner rides, like the old Kangaroo ride, but the patent makes me think it’s much more robust and would allow for a broad variety of applications. From the patent: “A ride system may include a ride vehicle configured to move along a ride path adjacent a track, and an arm coupled to the ride vehicle. The ride vehicle may be movable separately from the arm. The ride vehicle may include features to support the ride vehicle on a ride surface of the ride path, such that the ride vehicle may follow the ride’s terrain. The arm may articulate (e.g., move between positions) to adjust a position of the ride vehicle relative to the ride path. The arm may adjust the lateral and/or vertical position of the ride vehicle along the ride. The ride system may include a chassis coupled to the track, and the arm may be coupled to the chassis. The arm may be extendable and pivotable relative to the chassis, such that to adjust the position of the ride vehicle as the chassis rides along the track.” Thoughts?

networkpro25 days ago

Hopefully better than the Donkey Kong coaster arm.

Jambo Dad25 days ago

Interesting - happy to see innovation ideas. I wonder if the application intends to hide the arm from the riders somehow.

DisneyDodo25 days ago

The cars will be visible to others from other places as well

Tha Realest25 days ago

Where in the A to E ticket spectrum does this fall?

_caleb25 days ago

Yeah, sounds like it from @lentesta's posts in the Piston Peak/Villain's land thread: But the patent does seem to provide for a broader application. Here's hoping we see it used in a variety of ways.

Ayla25 days ago

Yikes.

eddie10425 days ago

Seems like the Piston Peak ride system may have been revealed.

Touchdown25 days ago

I’m pretty sure it’s going to be closer to this:

_caleb25 days ago

I'm happy to see an indication that Disney is holding to the "no exposed coaster tracks" approach. A ride system like this could a foundation for any number of coaster-like ride applications.

HauntedPirate25 days ago

Imagineers tried designing one but every time they looked up "Speeder bike Return of the Jedi", they got this:

dmc49325 days ago

Everyone keeps saying it could be the secondary ride, but this feels like an answer to the main attraction? You can position the arm away from the main guest point of view when they're seated, this allows you to feel like the car would be traversing the dirt path naturally, avoiding objects, hitting jumps, etc? It really wouldn't be that hard to hide the arm in the load/unload areas. others have mentioned kuka arm rides, which easily hide their arms in load/unload

britain25 days ago

Bah! I want a Star Wars speederbike coaster through a forest. Not Tron "Space Mountain 2".

Park Hours & Calendar

Updated frequently

Find operating hours, early entry times, and park hopping info across all four Walt Disney World parks.

Lightning Lane Prices

Updated daily

See current Lightning Lane prices for Genie+ and Individual Lightning Lane attractions at all parks.

Dining at Walt Disney World

Dining Guide

Explore restaurants, menus, and reviews for quick service and table service dining across Walt Disney World.

Latest Disney News

Updated multiple times per day

Catch up on the latest park updates, construction news, entertainment, and official announcements.