Disney's New Boom Arm Ride System: A Look at the Patent Drawings

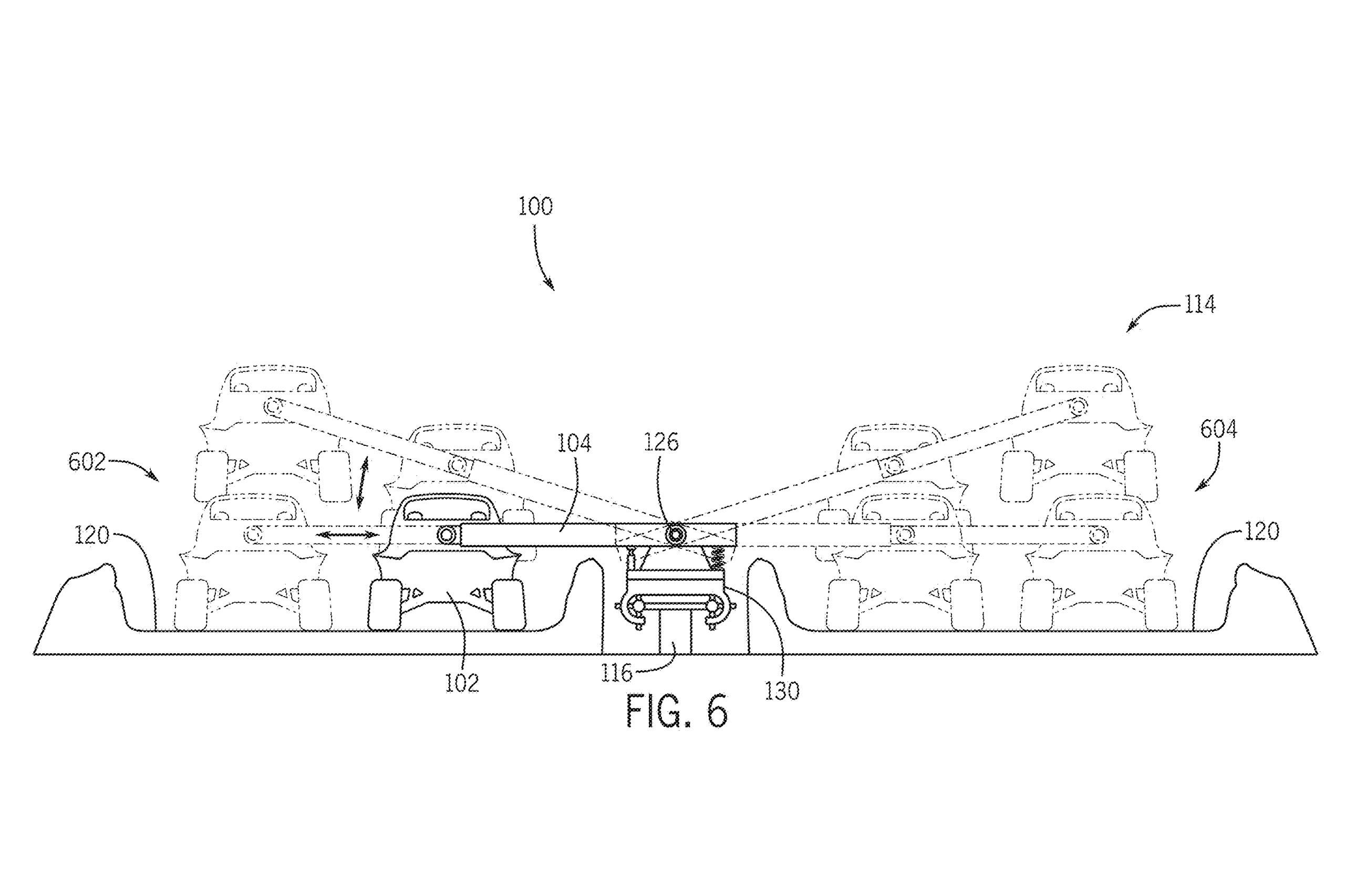
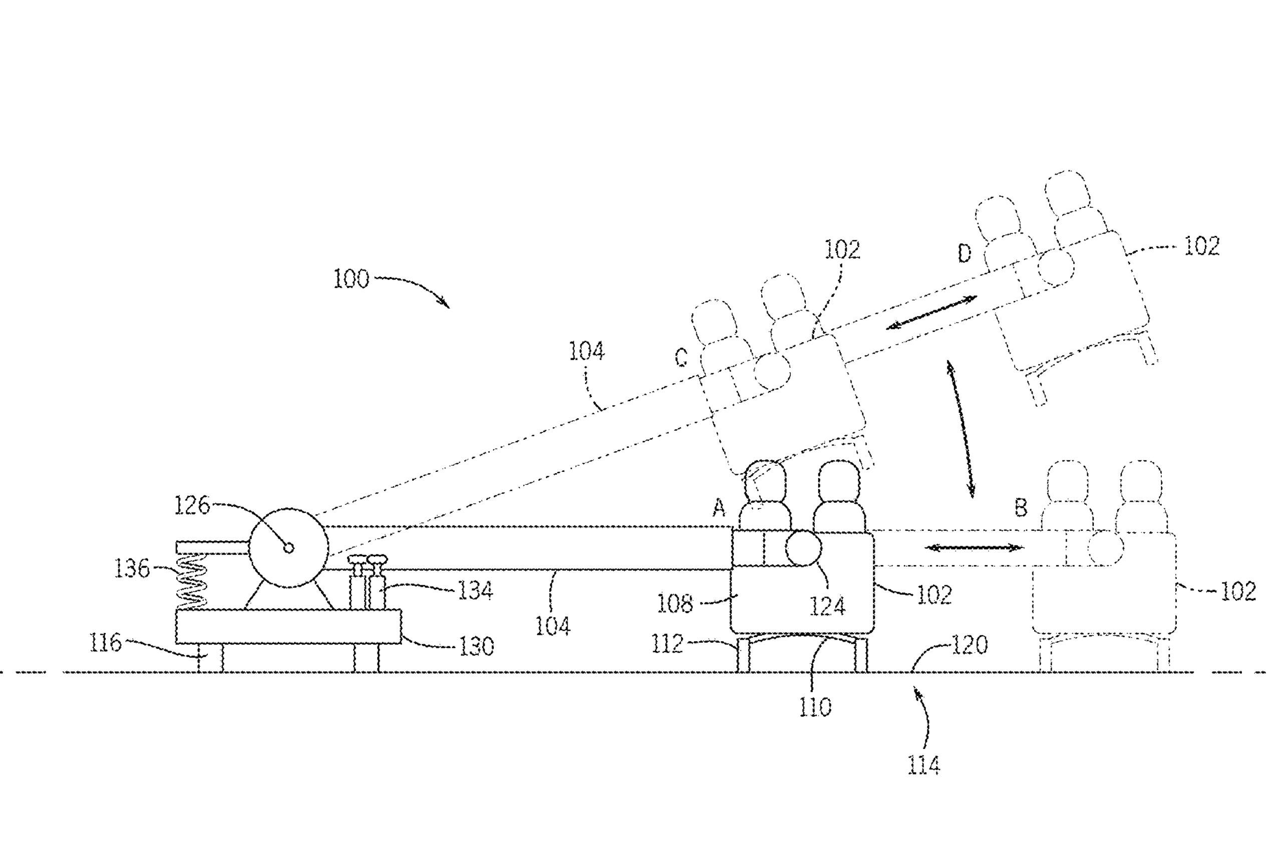
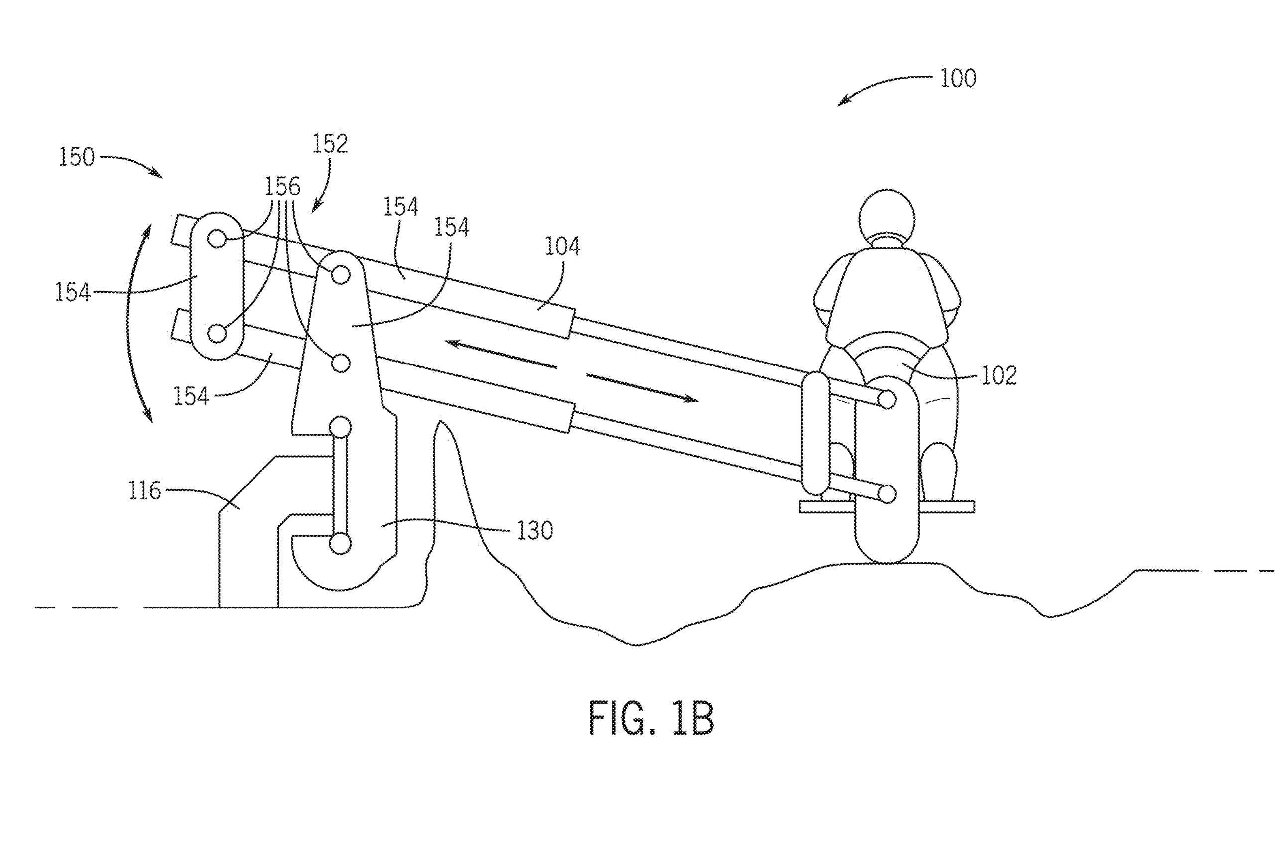
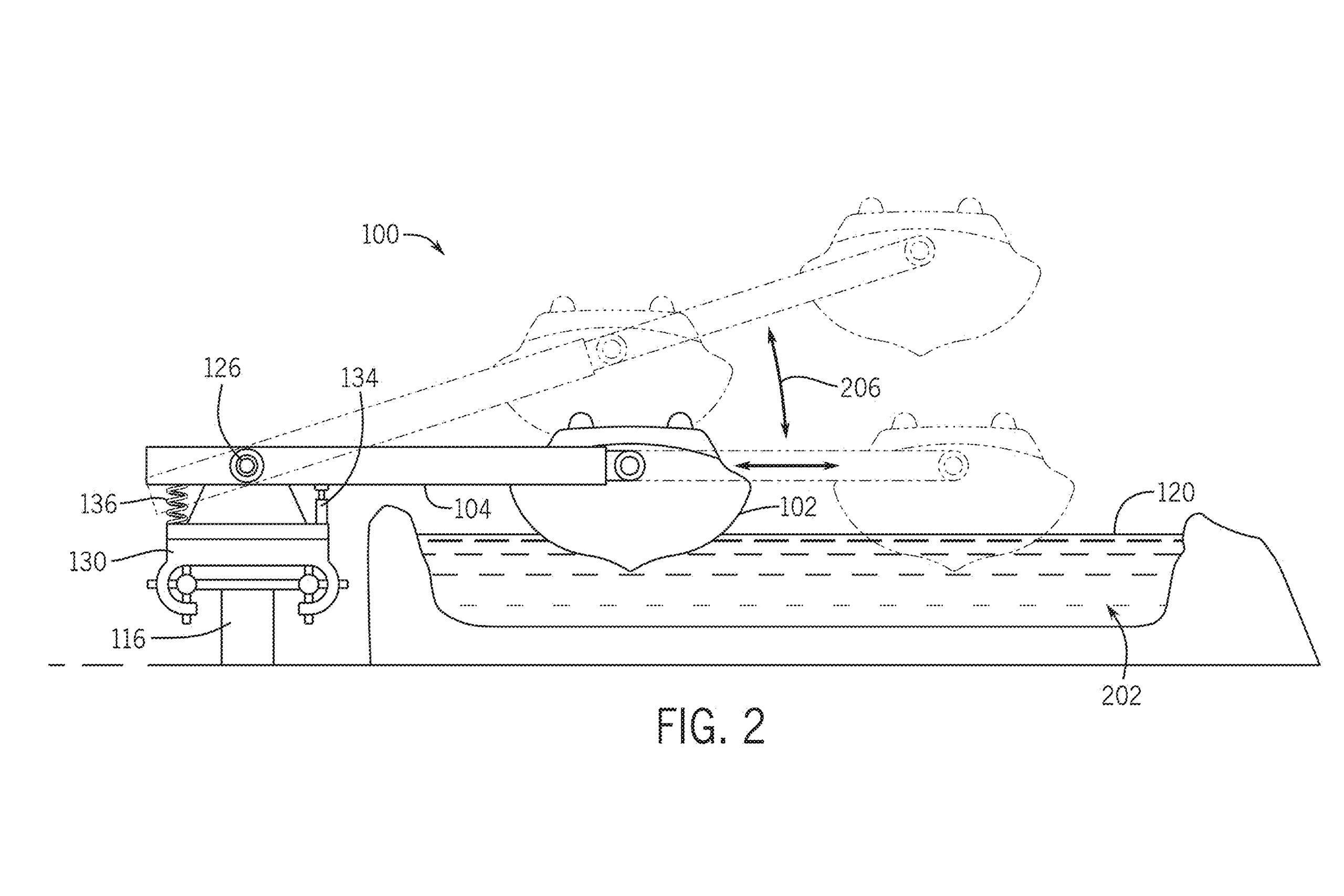
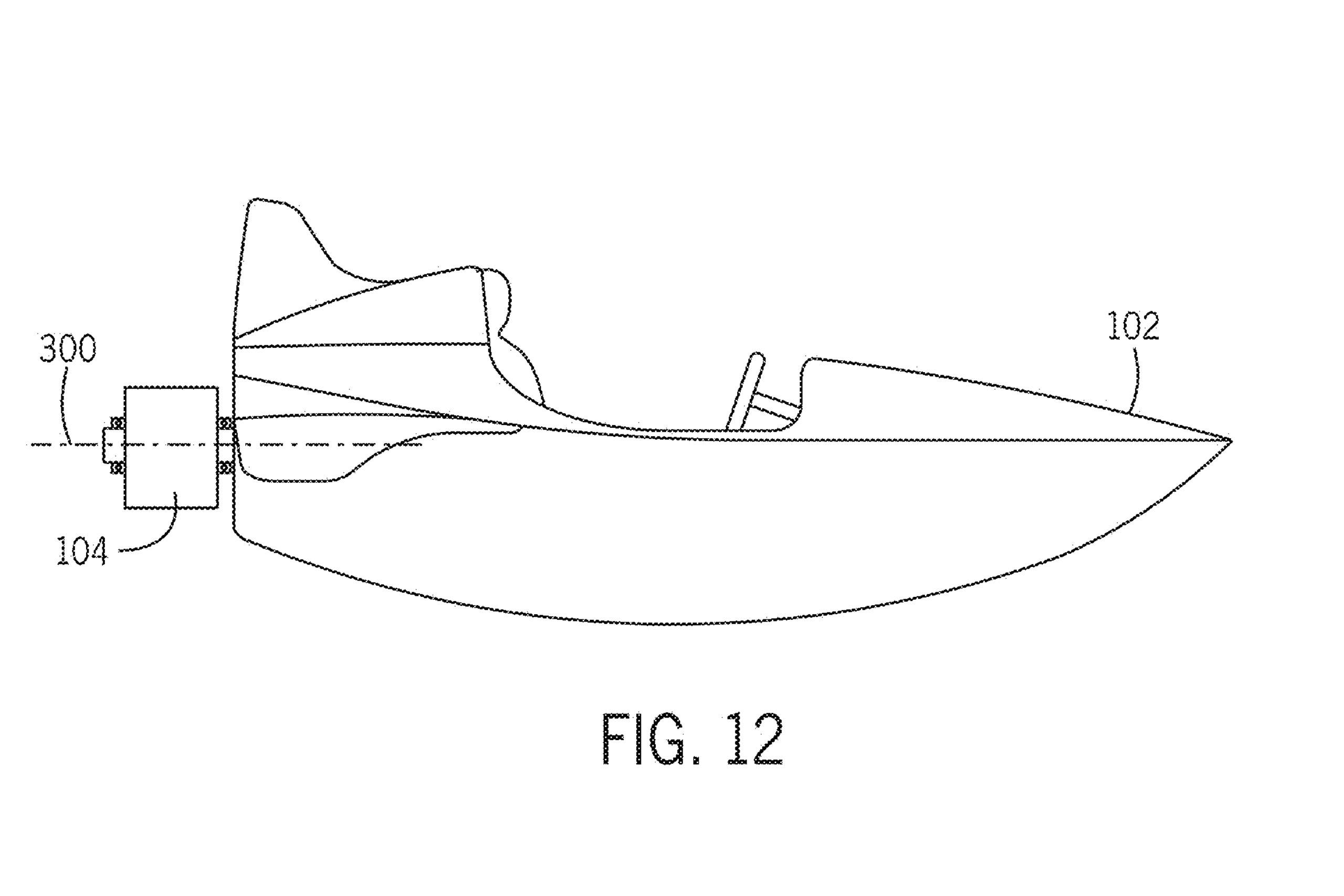
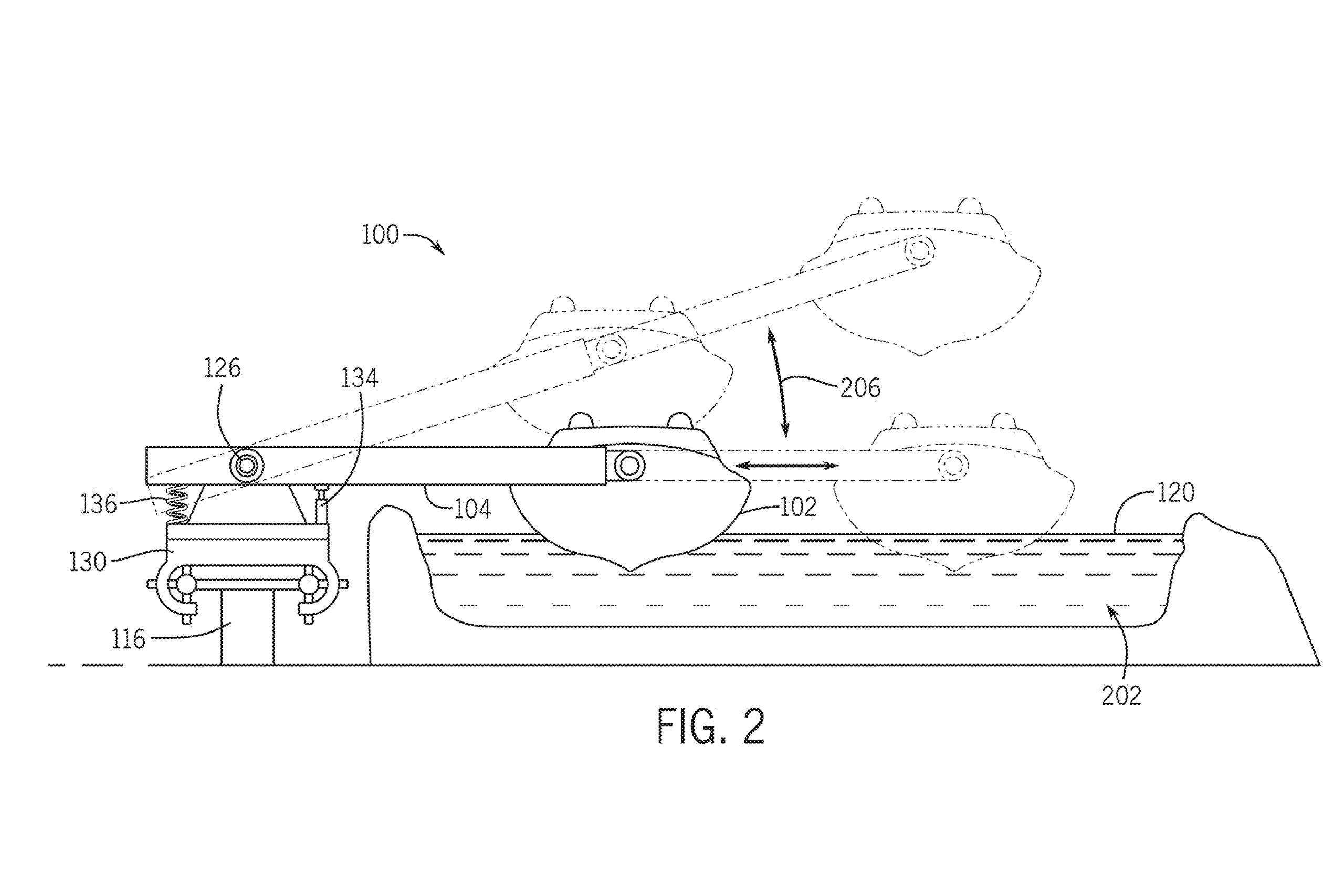
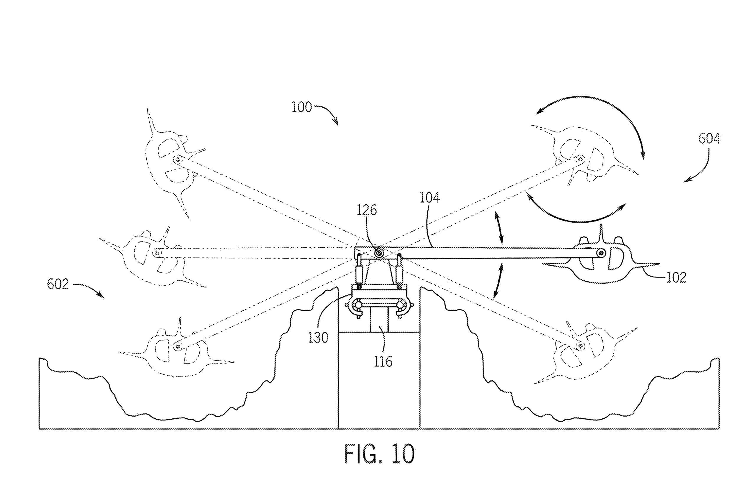
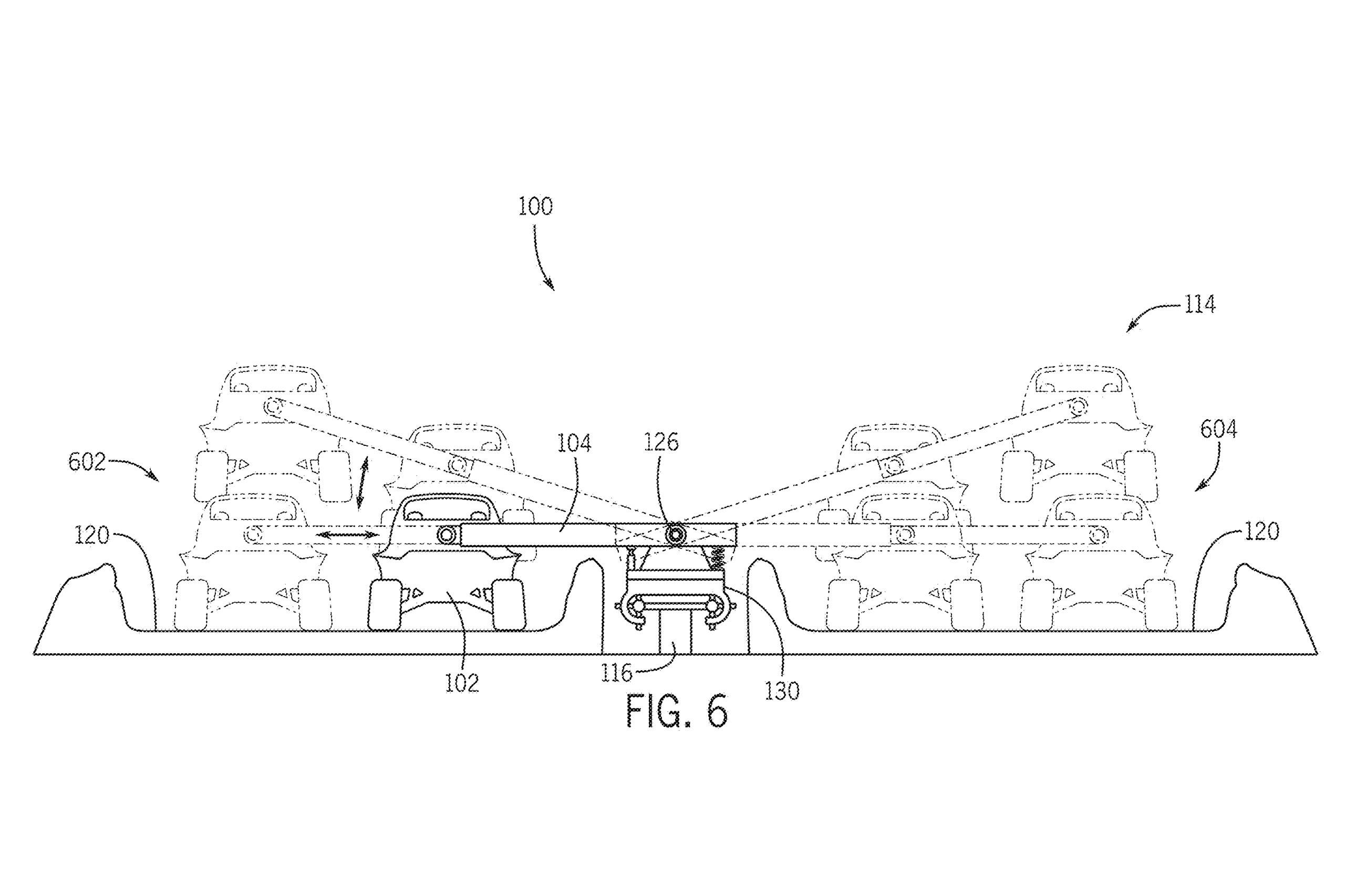
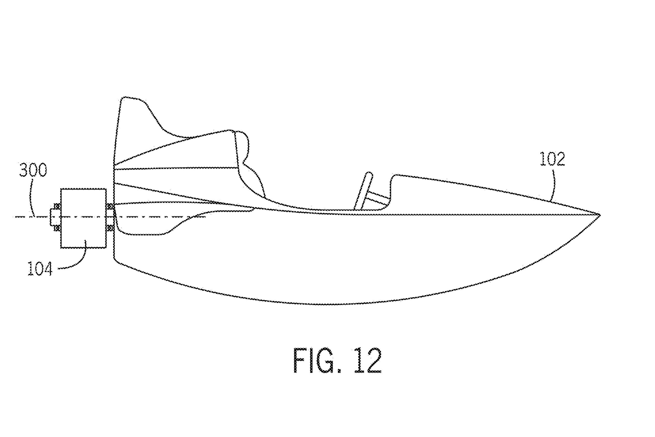
A look at the patent drawings from Disney's new US 2026/0027482 A1 filing, which describes a ride system using an articulating arm to lift, reposition, and move ride vehicles during an attraction. The diagrams show the system applied to water rides, land vehicles, and flying rides.

Photo 1 of 8
Photo 2 of 8
Photo 3 of 8
Photo 4 of 8
Photo 5 of 8
Photo 6 of 8
Photo 7 of 8
Photo 8 of 8
Disney's New Boom Arm Ride System: A Look at the Patent Drawings
Disney's New Boom Arm Ride System: A Look at the Patent Drawings
Disney's New Boom Arm Ride System: A Look at the Patent Drawings
Disney's New Boom Arm Ride System: A Look at the Patent Drawings
Disney's New Boom Arm Ride System: A Look at the Patent Drawings
Disney's New Boom Arm Ride System: A Look at the Patent Drawings
Disney's New Boom Arm Ride System: A Look at the Patent Drawings
Disney's New Boom Arm Ride System: A Look at the Patent Drawings

More from "Walt Disney Imagineering"

Park Hours & Calendar

Updated frequently

Find operating hours, early entry times, and park hopping info across all four Walt Disney World parks.

Lightning Lane Prices

Updated daily

See current Lightning Lane prices for Genie+ and Individual Lightning Lane attractions at all parks.

Dining at Walt Disney World

Dining Guide

Explore restaurants, menus, and reviews for quick service and table service dining across Walt Disney World.

Latest Disney News

Updated multiple times per day

Catch up on the latest park updates, construction news, entertainment, and official announcements.